医院污水处理机械
医院污水处理机械工艺介绍:
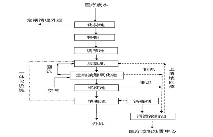
生物接触氧化法:生物接触氧化法生物池内设置填料,由于填料的比表面积大,池内充氧条件好,生物接触氧化池内单位容积的生物体量都高于活性污泥法曝气池及生物滤池,因此生物接触氧化池具有较高的容积负荷,由于相当一部分微生物固着生长在填料表面,生物接触氧化法可不设污泥回流系统,也不存在污泥膨胀问题,运行管理方便,由于生物接触氧化池内生物固体量多,水流属于完全混合型,因此生物接触氧化池对水质水量的骤变有较强的适应能力,生物接触氧化工艺大多适应于生活、医院、疗养院、宾馆、住宅小区、与生活污水类似的各种工业有机废水。

医院污水处理机械工艺选择思路:
(1)预处理:废水的预处理是整个系统能否有效运行的关键。废水中含有大量易腐化的有机物,必须在进入处理系统前加以拦截,以防止悬浮固体有机质腐化成为溶解性有机质,导致废水CODCr、BOD5浓度升高。常用的预处理方法很多,主要包括:调节、隔油、等。考虑到本工程的水量及水质特点,预处理工艺采用格栅、综合调节相结合的工艺。
(2)水解酸化工艺在高浓度有机废水的处理中是应用最多的形式,是通过控制水力停留时间及水中溶解氧的浓度,将生物的厌氧过程控制在水解及酸化阶段,不要求进入产乙酸和产甲烷阶段,从而缩短了反应的进程和时间。其主要的优势在于能够去除较多的有机物、降解分子量大和碳链较长的物质、提高进水的可生化性,同时由于其不进入产甲烷阶段,对环境条件的要求较低,能够抵抗一定的水质和水量的冲击负荷,同时水解酸化反应在厌氧和缺氧条件下都能够发生,对反应池的结构形式要求较低。水解酸化是将厌氧过程控制在水解和酸化阶段即可,因此水解酸化反应池的停留时间短,反应池内的优势菌群为水解酸化菌,少数为乙酸菌和产甲烷菌。另外,水解酸化工艺不进入产甲烷阶段,产生的少量气体可直接排入大气中,不会对人体和周围环境产生较大的影响。

(3)生化处理:
接触氧化法是一种好氧生物膜法工艺,微生物以生物膜形式及悬浮态生长于水中,因此它兼具活性污泥及生物滤池二者的特点。池内设置立体弹性填料和曝气管路系统,并于曝气管路系统上安装微孔曝气器。弹性填料由拉毛的PP材质的丝条和绞绳制成,呈圆形毛刷状,比表面积大,能附着大量的微生物膜。该填料挂膜快,脱膜容易,运行时丝条对空气泡能起到极好的切割作用,使大气泡切割成小气泡,可增加气液接触面积,促进氧的传递,从而提高处理效果。

(4)消毒装置:
二氧化氯发生器是一种操作简单、高转化率、高纯度、多用途、环保型化学法中、小型二氧化氯多级发生器。这种二氧化氯发生器,是由釜式反应器通过耐酸导管和水 射式真空机组组成。釜式反应器采用的是两级或多级反应器,主反应釜内设有空气分布器,副反应釜设置了平衡管,使反应更彻底,反应后的残液可达标排放。生成的二氧化氯制得水溶液,也可以制得稳定二氧化氯溶液。做为一种新型的氧化剂和消毒剂,二氧化氯以其高效、广谱、无残留、无副产物的消毒能力和脱色、除臭、 除异味等强氧化能力已经成为水处理领域的选择。


返回首页
电话
产品中心