医疗废水预处理设备介绍说明
一、医疗废水预处理设备介绍说明:
医疗废水预处理设备选用一种以生物膜为净化主体的污水生物处理系统,充分发挥了厌氧生物滤池、接触氧化床等优势。生物接触氧化处理系统是靠附着在填料上的生物膜去除废水中的有机污染物的。生物膜是微生物在载体表面上生长形成的膜状物质,在膜的表面和一-定深度的内部生长繁殖着大量的微生物和微型后生动物,并形成有机污染物-细菌-原生动物(后生动物)的食物链。

二、医疗废水预处理设备技术优势:
1、安装灵活,自动化程度高(设备上面的地表可作为绿化或其他用地。自动化管控,无需专人看管)。
2、工艺优良(采用新型生物接触氧化法,对水质的适应性强,有机物去除率高,产泥量少。出水水质稳定,不会产生污泥膨胀)。
3、微生物生长成熟(地埋式污水处理设备采用曝气器进行鼓风曝气,在接触氧化池内纤维束飘动因此曝气均匀,微生物生长十分的成熟)。
4、抗冲击负荷强(冲击负荷的能力强。接触氧化平均停留时间在6小时以上)。
5、组合软填料(接触氧化池内的填料多为组合软填料,质轻,高强,物理化学性质稳定,表面积大,生物膜附着能力强,污水与生物膜的接触效率高)。
6、具有脱氮除磷能力(具有脱氮除磷能力,并可以通过调节设备的构造,达到处理工业废水,生活污水,城市污水的能力)。


三、医疗废水预处理设备思路:
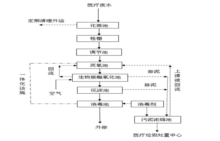
(1)预处理:废水的预处理是整个系统能否有效运行的关键。废水中含有大量易腐化的有机物,必须在进入处理系统前加以拦截,以防止悬浮固体有机质腐化成为溶解性有机质,导致废水CODCr、BOD5浓度升高。常用的预处理方法很多,主要包括:调节、隔油、等。考虑到本工程的水量及水质特点,预处理工艺采用格栅、综合调节相结合的工艺。
(2)水解酸化工艺在高浓度有机废水的处理中是应用形式多,是通过控制水力停留时间及水中溶解氧的浓度,将生物的厌氧过程控制在水解及酸化阶段,不要求进入产乙酸和产甲烷阶段,从而缩短了反应的进程和时间。其主要的优势在于能够去除较多的有机物、降解分子量大和碳链较长的物质、提高进水的可生化性,同时由于其不进入产甲烷阶段,对环境条件的要求较低,能够抵抗一定的水质和水量的冲击负荷,同时水解酸化反应在厌氧和缺氧条件下都能够发生,对反应池的结构形式要求较低。水解酸化是将厌氧过程控制在水解和酸化阶段即可,因此水解酸化反应池的停留时间短,反应池内的优势菌群为水解酸化菌,少数为乙酸菌和产甲烷菌。另外,水解酸化工艺不进入产甲烷阶段,产生的少量气体可直接排入大气中,不会对人体和周围环境产生较大的影响。
(3)生化处理:
接触氧化法是一种好氧生物膜法工艺,微生物以生物膜形式及悬浮态生长于水中,因此它兼具活性污泥及生物滤池二者的特点。池内设置立体弹性填料和曝气管路系统,并于曝气管路系统上安装微孔曝气器。弹性填料由拉毛的PP材质的丝条和绞绳制成,呈圆形毛刷状,比表面积大,能附着大量的微生物膜。该填料挂膜快,脱膜容易,运行时丝条对空气泡能起到极好的切割作用,使大气泡切割成小气泡,可增加气液接触面积,促进氧的传递,从而提高处理效果。


四、医疗废水预处理设备出厂检测:
1、设备在出厂前必须检查无任任何缺陷,并检查各部件是否符合规范要求等。
2、每台设备进行试压、试漏无任何异常现象。
3、检查各设备附件及包装情况,清点发货清单,确认无误后一一记录存档。

五、医疗废水预处理设备服务承诺:
1、严格按业主的要求,保证进度,保证质量完成项目。
2、凡是我方提供的所有材料以及整体工程,均实行12个月免费保修,该保修期自整体项目竣工验收合格之日起计算。
3、凡属我方承包范围和内容的项目,我方在接到修理通知的2小时内给予答复, 48小时内派人修理。
4、在保修期内向业主提供的所有售后服务属无偿服务。
5、我方承诺,对设备质量终身维护。
6、我方承诺将终身维护,并以优惠的价格(成本价)对设备提供修理服务。



返回首页
电话
产品中心