小型医用废水处理设备工艺流程
一、小型医用废水处理设备工艺流程:
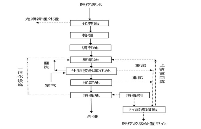
1、医用污水首先进入格栅井,格栅的作用主要是拦截污水中的漂浮物及颗粒物,减轻后续设备的处理负荷和保护水泵正常工作。
2、从格栅出来的水有提升泵提升到调节池,调节池的作用是调节水质和水量,使不同时间、不同水质的水充分混合,保证进入到后续设备的水质与水量均匀一致,还可以降低一定的负荷,使整套处理设备耐受短时间较高的负荷冲击。为防止SS在调节池沉淀,在调节池中安装几根曝气软管,起搅拌作用,同时调节池具有水解、酸化池的功能,可将部分大分子有机污染物降解为小分子污染物,去除部分有机污染物。
3、调节池出来的水自流至一体化医院污水处理设备的水解酸化池,将不易分解的大分子有机物厌氧消化为易分解的小分子有机物,后废水进入接触氧化池,在曝气池中设置填料,将其作为生物膜的载体。待处理的废水经充氧后以一定流速流经填料,与生物膜接触,生物膜与悬浮的活性污泥共同作用,达到净化废水的作用。生物处理后的废水自流入沉淀池,沉淀后上清液自流入消毒池,经过二氧化氯消毒后达标排放。


二、小型医用废水处理设备工艺配置:
A、调节池
由于来水标高低,无法直接流入地埋式生活污水处理设备,在生化一体化设备前增加集水调节池一座。集水提升池内装有两台潜水提升泵,将集水提升池内的废水提升至一体化污水处理设备。调节池同时起到均化水质和水量的作用。
B、格栅
调节池的废水由提升泵抽至一体化污水处理设备格栅前,格栅对污水中含有各类漂浮物质加以拦截。以防止堵塞后续的水泵或处理设备;避免在后续水池内沉淀,增加检修次数。
C、医用废水处理设备
调节池出来的水自流至地埋式污水处理设备的水解酸化池,将不易分解的大分子有机物厌氧消化为易分解的小分子有机物,后废水进入接触氧化池,在曝气池中设置填料,将其作为生物膜的载体。待处理的废水经充氧后以一定流速流经填料与生物膜接触,生物膜与悬浮的活性污泥共同作用,达到净化废水的作用。
D、消毒装置
医院污水中含有大肠杆菌超标,因此在污水排放前必须加以消毒,有效的杀菌工艺是二氧化氯消毒,二氧化氯发生器以盐酸和氯酸钠为原料,采用负压曝气工艺,生产以二氧化氯为主,氯气为铺的复合消毒液,工业盐酸应符合国家标准《GB320--93工业合成盐酸》的要求。氯酸钠应符合《GB1618--1995工业用氯酸钠》的要求。


三、小型医用废水处理设备优点:
1、抗冲击负荷的能力强。接触氧化法的平均停留时间在6小时以上;
2、具有脱氮除磷能力,并可以通过调节设备的构造,达到处理工业废水,生活污水,城市污水的能力;
3、接触氧化池内的填料多为组合软填料,质轻、高强、物理化学性质稳定,比表面积大,生物膜附着能力强,污水与生物膜的接触效率高;
4、接触氧化池内采用曝气器进行鼓风曝气,使纤维束不断漂动,曝气均匀,微生物生长成熟,具有活性污泥法的特征;
5、出水水质稳定,污泥产量少并易于处理;
6、潜水泵中可设于设备之中,减少工程投资。

四、小型医用废水处理设备售后服务:
1、严格按业主的要求,保证进度,保证质量完成项目。
2、凡是我方提供的所有材料以及整体工程,均实行12个月免费保修,该保修期自整体项目竣工验收合格之日起计算。
3、凡属我方承包范围和内容的项目,我方在接到修理通知的4小时内给予答复,48小时内必须派人修理。
4、在保修期内向业主提供的所有售后服务属无偿服务。
5、我方承诺,对设备质量终身维护。
6、我方承诺将终身维护,并以优惠的价格(成本价)对设备提供修理服务。



返回首页
电话
产品中心