小型医用污水处理装置质优价廉
一、小型医用污水处理装置质优价廉:
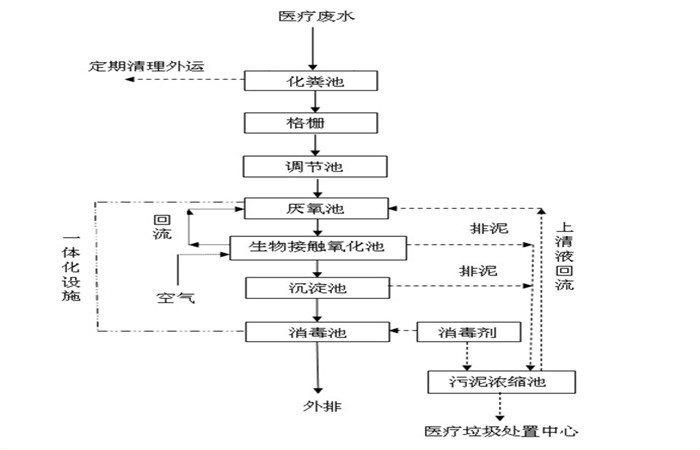
小型医用污水处理装置处理经过以下流程:预处理+生化处理+消毒的组合形式处理工艺,其中消毒的作用是消灭污水中各种致病菌,以保证医院污水处理后能够达标排放。医用污水选用合理、可靠的处理工艺,在确保处理排放达标的前提下,做到操作简单、管理方便、占地少、投资省、运行费用低, 有较好的技术经济指标。

二、小型医用污水处理装置处理标准:
1、进水水质
由于需方没有提供污水水质指标,参照其他医院的实际污水水质指标;
2、设计污水水量
按《医院污水处理技术指南》规定,平均日污水量取0.4立方/床,理论设计水量按实际床位数计算。
3、出水水质要求
根据《医疗机构水污染物排放标准》GB18466-2005中所规定的排放标准执行。

三、小型医用污水处理装置工艺流程:
1、医用污水首先进入格栅井,格栅的作用主要是拦截污水中的漂浮物及颗粒物,减轻后续设备的处理负荷和保护水泵正常工作。
2、从格栅出来的水有提升泵提升到调节池,调节池的作用是调节水质和水量,使不同时间、不同水质的水充分混合,保证进入到后续设备的水质与水量均匀一致,还可以降低一定的负荷,使整套处理设备耐受短时间较高的负荷冲击。为防止SS在调节池沉淀,在调节池中安装几根曝气软管,起搅拌作用,同时调节池具有水解、酸化池的功能,可将部分大分子有机污染物降解为小分子污染物,去除部分有机污染物。
3、调节池出来的水自流至一体化医院污水处理设备的水解酸化池,将不易分解的大分子有机物厌氧消化为易分解的小分子有机物,后废水进入接触氧化池,在曝气池中设置填料,将其作为生物膜的载体。待处理的废水经充氧后以一定流速流经填料,与生物膜接触,生物膜与悬浮的活性污泥共同作用,达到净化废水的作用。生物处理后的废水自流入沉淀池,沉淀后上清液自流入消毒池,经过二氧化氯消毒后达标排放。


四、小型医用污水处理装置特点:
(1)设计结构紧凑,空间利用充分,减少医院占地面积
(2)设备不会产生任何噪声、无异味、无污染,不会给病人和工作人员带来不便
(3)处理方式灵活,不会受到污水排放量的多少而影响处理效果
(4)自动化程度高,管理费用小

五、小型医用污水处理装置技术服务:
①、为安装的全过程提供监督服务和技术指导,对设备安装完成状态进行确认,经供方确认安装正确后进入下一步调试阶段。
②、供方与需方共同制定调试方案,并负责调试,对调试设备做必要的技术指导和技术支持。
③、在安装、调试期间,供方技术人员详细讲解技术文件,进行必要的示范操作,解决技术难题,解答需方在合同范围内提出的技术问题,负责对买方操作、维修人员在现场进行业务培训。



返回首页
电话
产品中心