医疗机构废水处理设备服务保障
一、医疗机构废水处理设备服务保障:
医疗机构废水处理设备选用全主动操控的二段生物触摸氧化工艺+消毒+脱氯。这种工艺占地面积小,发生污泥量少,抗冲击性好,全主动运转。确保各项水质指标均达到《医疗机构水污染物排放标准》(GB 18466-2005)标准的要求。广晟环保公司对医疗机构废水处理设备提供免费现场指导安装、调试、技术培训等服务保障。

二、医疗机构废水处理设备工艺配置:
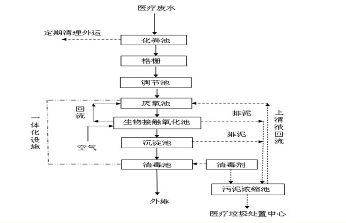
A、调节池
由于来水标高低,无法直接流入地埋式生活污水处理设备,在生化一体化设备前增加集水调节池一座。集水提升池内装有两台潜水提升泵,将集水提升池内的废水提升至一体化污水处理设备。调节池同时起到均化水质和水量的作用。
B、格栅
调节池的废水由提升泵抽至一体化污水处理设备格栅前,格栅对污水中含有各类漂浮物质加以拦截。以防止堵塞后续的水泵或处理设备;避免在后续水池内沉淀,增加检修次数。
C、地埋式污水处理设备
调节池出来的水自流至地埋式污水处理设备的水解酸化池,将不易分解的大分子有机物厌氧消化为易分解的小分子有机物,后废水进入接触氧化池,在曝气池中设置填料,将其作为生物膜的载体。待处理的废水经充氧后以一定流速流经填料,与生物膜接触,生物膜与悬浮的活性污泥共同作用,达到净化废水的作用。
D、消毒装置
医院污水中含有大肠杆菌超标,因此在污水排放前必须加以消毒,有效的杀菌工艺是二氧化氯消毒,二氧化氯发生器以盐酸和氯酸钠为原料,采用负压曝气工艺,生产以二氧化氯为主,氯气为铺的复合消毒液,工业盐酸应符合国家标准《GB320--93工业合成盐酸》的要求。氯酸钠应符合《GB1618--1995工业用氯酸钠》的要求。


三、医疗机构废水处理设备工艺说明:
医疗机构废水首先进入格栅井,格栅的作用主要是拦截污水中的漂浮物及颗粒物,减轻后续设备的处理负荷和保护水泵正常工作。从格栅出来的水有提升泵提升到调节池,调节池的作用是调节水质和水量,使不同时间、不同水质的水充分混合,保证进入到后续设备的水质与水量均匀一致,还可以降低一定的负荷,使整套处理设备耐受短时间较高的负荷冲击。为防止SS在调节池沉淀,在调节池中安装几根曝气软管,起搅拌作用,同时调节池具有水解、酸化池的功能,可将部分大分子有机污染物降解为小分子污染物,去除部分有机污染物。
调节池出来的水自流至一体化医院污水处理设备的水解酸化池,将不易分解的大分子有机物厌氧消化为易分解的小分子有机物,后废水进入接触氧化池,在曝气池中设置填料,将其作为生物膜的载体。待处理的废水经充氧后以一定流速流经填料,与生物膜接触,生物膜与悬浮的活性污泥共同作用,达到净化废水的作用。生物处理后的废水自流入沉淀池,沉淀后上清液自流入消毒池,经过二氧化氯消毒后达标排放。


四、医疗机构废水处理设备特点:
1、设备经本厂碳钢防腐处置或不锈钢构件,现场拼接组合而成。重量轻巧,易于运输,便当装置,耐腐蚀,运用寿命长;
2、构造合理紧凑,埋于公开有利保温,在冰冷的冬季仍可正常运转,顺应南北宽广的气候;亦可安顿在水塘中,借用地形触入四周,占空中积。
3、无污染,无噪声,无异味,二次污染;
4、不受污水量的,机动灵敏,可单个运用,也可多个结用。
5、自动化水平高,能耗低,费用小;
6、设备的特性是能够将污水处置工程布置成景观。由于医院污水处置设备埋于公开且效果好,地表绿化率可达90%以上



返回首页
电话
产品中心