小型医疗门诊污水处理设备
一、小型医疗门诊污水处理设备介绍:
小型医疗门诊污水处理设备采用物理方法处理污水,不会出现氯排放量超标的现象,也不会出现后续投资费用。工艺中的主体为地埋设备和二氧化氯消毒,二氧化氯其杀菌的原理是破坏和氧化微生物的细胞膜、细胞质、酶系统和核酸等,从而能够有效的去除细菌和病毒。

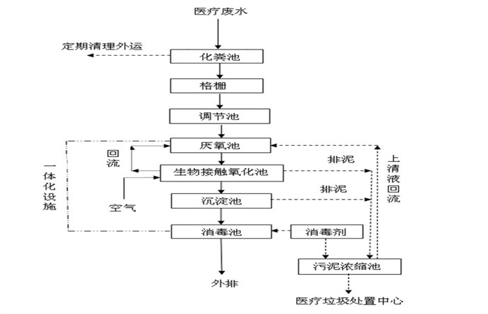
二、小型医疗门诊污水处理设备处理工艺:
(1)预处理:废水的预处理是整个系统能否有效运行的关键。废水中含有大量易腐化的有机物,必须在进入处理系统前加以拦截,以防止悬浮固体有机质腐化成为溶解性有机质,导致废水CODCr、BOD5浓度升高。常用的预处理方法很多,主要包括:调节、隔油等。
(2)接触氧化法:它是一种好氧生物膜法工艺,微生物以生物膜形式及悬浮态生长于水中,因此它兼具活性污泥及生物滤池二者的特点。池内设置立体弹性填料和曝气管路系统,并于曝气管路系统上安装微孔曝气器。弹性填料由拉毛的PP材质的丝条和绞绳制成,呈圆形毛刷状,比表面积大,能附着大量的微生物膜。该填料挂膜快,脱膜容易,运行时丝条对空气泡能起到极好的切割作用,使大气泡切割成小气泡,可增加气液接触面积,促进氧的传递,从而提高处理效果。该工艺负荷高、停留时间短、挂膜快、运行稳定。
(3)消毒:医院污水中含有大肠杆菌超标,因此在污水排放前必须加以消毒,最有效的杀菌工艺是二氧化氯消毒,二氧化氯发生器以盐酸和氯酸钠为原料,采用负压曝气工艺,生产以二氧化氯为主,氯气为铺的复合消毒液,工业盐酸应符合国家标准《GB320--93工业合成盐酸》的要求。


三、小型医疗门诊污水处理设备注意事项:
(1)泵站与污水处理站采用双路供电,水泵设计考虑备用,机械设备采用性能可靠优质产品。
(2)选用优质设备,对污水处理站各种机械电器、仪表等设备,必须选择优良、事故率低、便于的产品。关键设备应一备一用,易损部件要有备用件,在出现事故时能及时更换。
(3)加强事故苗头监控,定期巡检、调节 及时发现有可能引起事故的异常运行苗头,事故隐患。
(4)严格控制处理单元的水量、水质、停留时间、负荷强度等工艺参数,确保处理效果的性。配备流量、水质自动分析监控仪器,定明取样监测。操作人员及时,使设备处于工况。如发现不正常现象,需立即采取预防措施。
(5)建立操作规程,在平时严格按规程办事,定期对污水处理站人员的理论知识和操作技能进行培训和检查。
(6)加强运行和进的监测工作,未经处理达标的污水严禁外排。
(7)污水泵房应设有体监测仪,并配备必要的通风装置。
(8)建立责任制度,在日常的工作方面建立一套完整的制度,落实到人、明确职责、定期查。制订风险故障的应急措施,明确事故发生时的应急、抢险操作制度。

四、小型医疗门诊污水处理设备特点:
1、设备经本厂碳钢防腐处置或不锈钢构件,现场拼接组合而成。重量轻巧,易于运输,便当装置,耐腐蚀,运用寿命长;
2、构造合理紧凑,埋于公开有利保温,在冰冷的冬季仍可正常运转,顺应南北宽广的气候;亦可安顿在水塘中,借用地形触入四周,占空中积。
3、无污染,无噪声,无异味,二次污染;
4、不受污水量的,机动灵敏,可单个运用,也可多个结用。
5、自动化水平高,能耗低,费用小;
6、设备的特性是能够将污水处置工程布置成景观。由于医院污水处置设备埋于公开且效果好,地表绿化率可达90%以上。

五、小型医疗门诊污水处理设备设计范围:
1、从污水处理格栅井开始到处理设备的排放口为止。
2、污水工程的工艺流程,工艺设备选型,工艺设备的结构布置,电气控制说明等设计工作。
3、污水处理工程的钢砼工艺结构,设备的施工、安装、调试等工作。
4、污水工程的动力配线,由业主将主电引至污水工程的配电控制箱,配电分配箱至各电器使用点将由我公司负责。
5、不包括废水的收集管网及废水排出界区的外排水管网。



返回首页
电话
产品中心