医疗废水处理设备
一、医疗废水处理设备工艺选择:
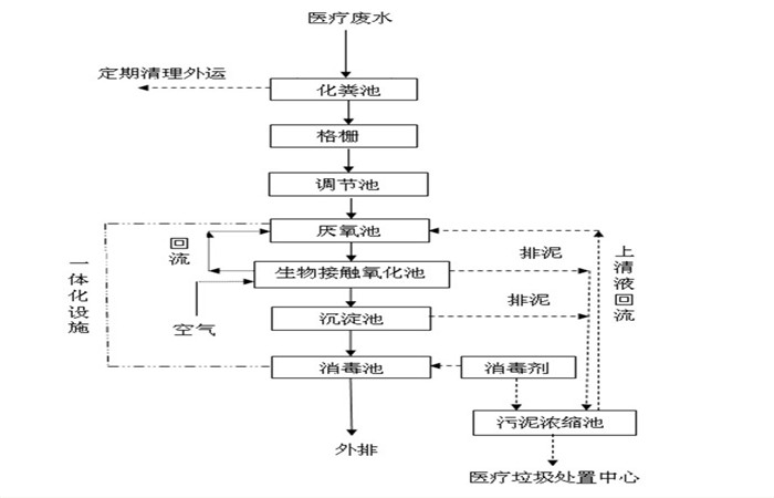
根据卫生院的规模、性质和处理污水排放去向,进行工艺选择。主要采用的工艺有三种:加强处理效果的一级处理、二级处理和简易生化处理。即地埋一体化污水处理设备加消毒装置(二氧化氯发生器),处理后的水可以达标排放,并且设备投入较少。

二、医疗废水处理设备工艺介绍:
(1)预处理:废水的预处理是整个系统能否有效运行的关键。废水中含有大量易腐化的有机物,必须在进入处理系统前加以拦截,以防止悬浮固体有机质腐化成为溶解性有机质,导致废水CODCr、BOD5浓度升高;
(2)水解酸化工艺在高浓度有机废水的处理中是应用较多的形式,是通过控制水力停留时间及水中溶解氧的浓度,将生物的厌氧过程控制在水解及酸化阶段,不要求进入产乙酸和产甲烷阶段,从而缩短了反应的进程和时间。其主要的优势在于能够去除较多的有机物、降解分子量大和碳链较长的物质、提高进水的可生化性;
(3)生化处理:接触氧化法是一种好氧生物膜法工艺,微生物以生物膜形式及悬浮态生长于水中,因此它兼具活性污泥及生物滤池二者的特点;
(4)消毒装置:医院污水中含有大肠杆菌超标,因此在污水排放前必须加以消毒,有效的杀菌工艺是二氧化氯发生器消毒。


三、医疗废水处理设备售后服务承诺:
1、严格按业主的要求,保证进度,保证质量完成项目。
2、凡是我方提供的所有材料以及整体工程,均实行 12 个月免费保修,该保修期自整体项目最终竣工验收合格之日起计算。
3、凡属我方承包范围和内容的项目,我方在接到修理通知的4小时内给予答复,48小时内必须派人修理。
4、在保修期内向业主提供的所有售后服务属无偿服务。

医疗废水处理设备 2020-6-20 本文被阅读 35218 次

返回首页
电话
产品中心